![]() |
|
||
|
|
|||
法令 第11/95/M号
订定澳门保安部队事务司组织架构——若干废除
二月二十七日
第一章 名称、法律性质及职责
第一条 (名称及法律性质)
澳门保安部队事务司(葡文缩写为DSFSM)为具有行政自治权之澳门公共行政当局之组织单位,并在总督直接领导下执行其工作。
第二条 (职责)
澳门保安部队事务司之职责为:
a.在澳门保安部队(葡文缩写为FSM)范围内之法律、人员、后勤、财政管理、通讯、基础设施、组织及资讯方面提供技术及行政辅助,以及提供计划、统筹及程序标准化之辅助;
b.应上级命令,协助研究及分析建议书;
c.参与与澳门保安部队息息相关之活动之计划,并就该等事宜作出意见书;
d.在澳门保安部队范围内,研究并建议规范、行政及技术性之措施;
e.根据总督之命令履行以上各项以外之特定性工作。
第二章 一般组织
第一节 组织结构
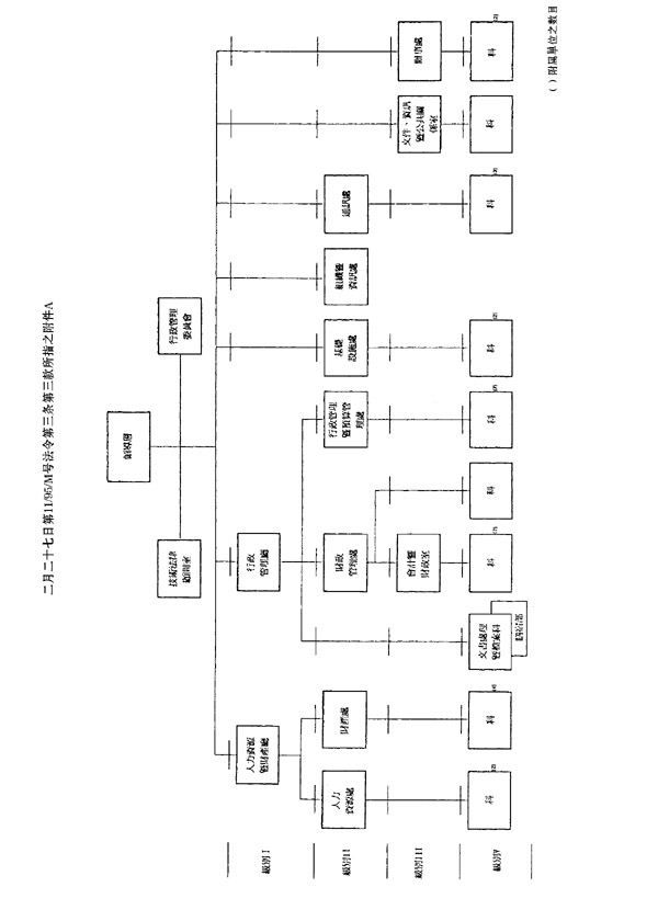
第三条 (各机关及组织附属单位)
一、澳门保安部队事务司设有:
a.领导层及各领导机关;
b.人力资源暨财产厅;
c.行政管理厅;
d.基础设施处;
e.组织暨咨讯处;
f.通讯处;
g.文件、咨询及公共关系室;
h.办事处。
二、载有关于推展澳门保安部队事务司之组织、运作及内部事务方面必要规定之《澳门保安部队内部事务规章》,由司长以批示核准,并由总督认可。
三、澳门保安部队事务司之组织结构图及主管级别载于本法规之附件A,而该附件为本法规之组成部分。
第二节 领导层
第四条 (组成)
领导层由一名司长及一名副司长组成,该司长由副司长辅助。
第五条 (司长之权限)司长之权限尤其为:
a.领导、指导及监督澳门保安部队事务司之活动;
b.行使获授予或获转授予之权限;
c.将认为适当之本身权限授予领导及主管人员;
d.制定澳门保安部队事务司之活动计划,以及制定组成澳门保安部队之各部队及机构之总预算提案,并将之呈交上级审议;
e.依法对在澳门保安部队事务司服务之人员执行纪律行动;
f.就澳门保安部队事务司编制之文职人员之任命、升级,以及就聘用其他人员之事宜作出建议;
g.就分配任用于澳门保安部队之各部队及机构之文职人员之事宜作出建议;
h.编制澳门保安部队事务司之年度活动报告书;
i.就应呈交上级批示之事宜作出报告书及意见书;
j.对其他机构或实体代表澳门保安部队事务司;
l.主持行政管理委员会。
第六条 (副司长之权限)
副司长之权限尤其为:
a.辅助司长执行其职务;
b.在司长不在、出缺或遇法定障碍时代任之;
c.行使由司长授予或转授予之权限,以及担任获赋予之其他职务。
第三节 各领导机关
第七条 (技术法律顾问室)
一、技术法律顾问室(葡文缩写为GATJ)为附属于司长而运作之顾问机关。
二、技术法律顾问室有权限编制与澳门保安部队有关之各方面之研究书及技术意见书。
三、技术法律顾问室有权限处理之工作一般由澳门保安部队事务司之编制人员执行;如因技术性及技术复杂性之需要,澳门保安部队各部队及机构得派出用于完成有关工作所必需之人员。
第八条 (行政管理委员会)
一、行政管理委员会(葡文缩写为CA)为澳门保安部队事务司之财政管理机关,附属司长而运作,并由下列成员组成:
a.司长,负责主持该委员会;
b.行政管理厅厅长;
c.行政管理暨预算管理处处长;
d.财政管理处处长。
二、行政管理委员会之权限为:
a.对准备澳门保安部队预算提案作出指导,并监察其执行;
b.组织会计,并监察其记帐;
c.审查开支之合法性,并许可有关开支之支付;
d.编制将呈交澳门公共行政当局有权限机关之每月帐目、管理帐目及责任帐目。
三、行政管理委员会之平常会议应每月召开,特别会议得应主席之召集而召开。
四、行政管理委员会之决议,应以多数票作出;票数相同时,主席拥有决定性之票,而决议在全体成员或其法定代任人出席之会议上作出,方为有效。
五、在行政管理委员会成员出缺、不在或因故不能视事时,由其法定代任人代任之。
六、行政管理委员会成员应对所作出之决议负连带责任,但其落败票在会议记录内作出适当说明理由者,不在此限。
七、每次会议应缮立会议记录,且须经主席及其他成员签名。
八、行政管理委员会之决议分别由行政管理厅及人力资源暨财产厅根据各自权限执行。
第四节 组织附属单位
第九条 (人力资源暨财产厅)
一、人力资源暨财产厅(葡文缩写为DRHP)负责在澳门保安部队之范围内提供在计划、统筹、管理人力资源及财产资源方面之技术及行政辅助。
二、人力资源暨财产厅设有:
a.人力资源处;
b.财产处。
第十条 (人力资源处)
一、人力资源处(葡文缩写为DRH)之权限为:
a.就澳门保安部队在职人员之管理及监督,编制研究书、计划书及建议书,并发出意见书;
b.研究、计划及执行关于澳门保安部队文职人员之甄选、录取方面之活动及其他技术行政程序方面之活动;
c.在与各部队及机构协调之情况下,招募、甄选及分配地区保安服务之投考人;
d.确保有关澳门保安部队事务司军事化人员之技术行政程序;
e.研究、计划及统筹与澳门保安部队范围内人员方面之通则、规章及其他法例之适用及更新有关之事宜;
f.在与各部队及机构协调之情况下,计划、统筹及编制澳门保安部队文职人员年度需求计划;
g.在与各部队及机构协调之情况下,研究及计划与澳门保安部队内进行之训练有关之事宜;
h.就人事方面之事宜向各部队及机构提供技术及行政辅助;
i.研究、计划及统筹关于心理技术工具运用之事宜;如为适当,向澳门保安部队各部队及机构要求专业军事化人员之辅助;
j.在与组织暨资讯处协调之情况下,设立关于澳门保安部队人员之统计资讯;
l.以非留院制度提供诊症服务及统筹澳门保安部队范围内之卫生事宜;
m.研究、计划及促进与澳门保安部队人员之士气及福利有关之一般规定之执行。
二、人力资源处设有两个科。
第十一条 (财产处)
一、财产处(葡文缩写为DP)之权限为:
a.研究并统筹澳门保安部队各部队及机构之“需求计划”及“使用计划”内之“耐用品”、“制服、设备及鞋类”及“弹药、爆炸品、烟火及电动引爆装置”等项目,将该等计划统一,并作出建议,以待上级核准;
b.计划并执行向澳门保安部队各厅、队及机构补给“制服、设备及鞋类”、“弹药、爆炸品、烟火及电动引爆装置”、“防卫及安全”等项目方面之物料,但通讯及资讯之特定器材及设备除外;
c.研究、计划、统筹及执行向澳门保安部队事务司、消防队及澳门保安部队高等学校补给“燃料及润滑剂”之工作;
d.在与各部队及机构联系之情况下,研究、计划及建议将为澳门保安部队取得之器材在技术及操作上须具备之特征,但通讯及资讯之器材及设备除外;
e.研究、计划、统筹及执行与利用及使用澳门保安部队所管理之财产资源有关之事宜,尤其有关具有住宿权利之人员之住宿事宜;
f.研究、计划、统筹及执行澳门保安部队关于运载人员及运输财产出入本地区之事宜;
g.计划并执行维修澳门保安部队事务司车队之活动,确保消防队车队之维修,以及在必要时向澳门保安部队其他部队及机构之流动工具提供技术辅助;
h.根据澳门地区范围内所赋予澳门保安部队之权限,研究、建议有关弹药、爆炸品及烟火之保护、安全、保养、储存及分配之规定,并监督其执行;
i.管理澳门保安部队事务司范围内所取得之器材及设备,并保持有关财产清册之最新资料及编制器材责任帐目。
二、财产处设有四个科。
第十二条 (行政管理厅)
一、行政管理厅(葡文缩写为DA)负责管理分配予澳门保安部队事务司之财政资源,以及辅助、协调及监督澳门保安部队之经济及财政管理之活动。
二、行政管理厅设有:
a.行政管理暨预算管理处;
b.财政管理处;
c.膳宿部;
d.文书处理暨档案科。
第十三条 (行政管理暨预算管理处)
一、行政管理暨预算管理处(葡文缩写为DAGO)之权限尤其为:
a.研究、建议及向澳门保安部队各部队及机构推广经济及财政方面之技术执行性规定,以及监督其执行及遵守;
b.编制关于澳门保安部队经济及财政活动在管理上之研究书、意见书及报告书;
c.在技术上协调及辅助澳门保安部队各部队及机构,以编制有关预算提案及计划性建议书,并对之进行分析及汇集为澳门保安部队总预算提案,且经上级核准后,呈交有权限机构;
d.根据上级所订定之标准,编制向澳门保安部队各部队及机构所分配之预算拨款之建议书;
e.跟进及统筹澳门保安部队各部队及机构预算之执行,以及就执行之程度作出定期报告书,并指出有关偏差,以及建议适当之改正措施;
f.分析向其送交与澳门保安部队人员所申请之补助之权利有关之档案,并为之作出报告书;
g.编制关于澳门保安部队人员之薪俸、其他补助及扣除之档案,确保有关核实及正确性;
h.根据解释性文件,审查、处理及结算澳门保安部队各部队及机构之收入及开支,尤其关于法律、规章及其他技术行政性规定之切实遵守;
i.在规定之期限内编制关于澳门保安部队财政管理之每月帐目及年度帐目,并经行政管理委员会核准后,呈交澳门公共行政当局有权限机关。
二、行政管理暨预算管理处设有两个科。
第十四条 (财政管理处)
一、财政管理处(葡文缩写为DGF)之权限尤其为:
a.统筹并监督澳门保安部队事务司预算提案之准备,以及制定该提案;
b.管理分配予澳门保安部队事务司之财政资源,以及执行该司范围内所进行之一切活动之会计记录;
c.确保司库部之运作,依法征收及处理由其负责征收之收入,以及促进经许可之支付;
d.根据法律及规章性之规定,执行在澳门保安部队事务司范围内所取得之财产及劳务计划,并确保投承规则、招标、咨询、判给建议书之编制及其他手续;
e.在澳门保安部队事务司范围内,储备及补给经常消费品及文具。
二、财政管理处设有会计暨财政室及一个科。
第十五条 (膳宿部)
膳宿部之权限为:
a.根据有关规章,提供上级所命令之膳宿服务;
b.取得并储备膳食服务所必需之食品;
c.适当管理获分配之人力、财力及物力资源。
第十六条 (文书处理暨档案科)
文书处理暨档案科之权限为:
a.处理并发出行政管理厅之一切书信;
b.确保行政管理厅一般档案之组织、安全及保存。
第十七条 (基础设施处)
一、基础设施处(葡文缩写为DI)在计划、设计、执行及监察与澳门保安部队有关之工程方面提供技术辅助。
二、基础设施处之权限尤其为:
a.在与各部队及机构协调之情况下,研究、设计及建议澳门保安部队之工程计划;
b.编制在澳门保安部队范围内之计划书、规格说明书、技术意见书,并执行及监察建筑工程,进行翻新及修理;
c.就本地区行政当局其他机构负责执行之澳门保安部队工程之计划作出意见书,以及跟进上述工程之计划及其执行;
d.就须由其他机构及实体负责,但与澳门保安部队有关之工程之计划作出意见书,以及跟进上述工程之计划及其执行;
e.组织并更新澳门保安部队之财产记录及财产清册;
f.在要求其参与之事宜上,与澳门保安部队其他部队及机构合作。
三、基础设施处设有两个科。
第十八条 (组织暨资讯处)
一、澳门保安部队之组织暨资讯处(葡文缩写为DOI)在计划、统筹、使用及维修资讯工具方面提供技术辅助。
二、组织暨资讯处之权限尤其为:
a.根据上级所作之指令,研究及开展新资讯计划;
b.编造有关已完成之应用程序之一切文件,并使应用程序处于可运作及安全之条件下;
c.应要求,进行更新应用程序之活动;
d.为向用户教授有关使用系统所必要之技术及程序创造条件;
e.与本地区其他资讯中心合作,订定资讯处理上之共同方法;
f.将执行工作所必需之资讯工具提供予使用者;
g.在与澳门保安部队各部队及机构紧密合作之情况下,研究、计划及建议澳门保安部队资讯器材及设备所需具备之技术特征与操作特征;
h.设计操作系统,管理其使用,以及监督其效用;
i.管理资料基,并确保由其负责之资讯之安全;
j.与通讯处合作,管理及保养资料通讯网络;
l.计划并建立在资讯系统中断或发生故障时恢复该资讯系统之必要措施。
第十九条 (通讯处)
一、通讯处(葡文缩写为DC)在计划、统筹、装置、保养及使用通讯工具方面提供操作上之技术辅助。
二、通讯处之权限尤其为:
a.研究、计划、建议及统筹澳门保安部队之通讯系统,以及该系统与公共网络之联系;
b.研究及建议因澳门保安部队之需要而产生之无线电役权,就须与澳门保安部队及联系之通讯事宜,与本地区通讯机构及安全机构共同协调;
c.就取得及操控澳门保安部队之通讯器材与设备,计划及促进有关刊物之出版,并执行有关规定;
d.在与澳门保安部队各部队及机构协调之情况下,在澳门保安部队通讯范围内促进计划书、需求计划书、技术说明书等之编制,以及器材及设备之再利用;
e.在通讯范围内发出法律要求由澳门保安部队负责之意见书;
f.统筹并监督澳门保安部队专业人员之培训,以及透过编制教学及训练教科书,协助培训通讯范围内之其他人员,以及协助订定有关计划;
g.管理指挥网络,确保澳门保安部队事务司通讯中心之运作,监控澳门保安部队之通讯网络,以及促进适当之措施,以使在通讯上获得应有之效率及安全;
h.确保澳门保安部队之密码服务及有关密码中心之运作;
i.装置、配给及保持澳门保安部队之通讯系统;
j.确保并监察澳门保安部队之通讯器材及设备之非普通维修,以及确保并监察一般规定及促进必要之监察活动。
三、通讯处设有三个科。
第二十条 (文件、资讯暨公共关系室)
一、文件、资讯暨公共关系室(葡文缩写为GDIRP)就澳门保安部队范围内之文件、资讯及公共关系方面提供技术辅助。
二、文件、资讯暨公共关系室之权限尤其为:
a.促进资讯、公共关系及礼仪之活动,以推广由澳门保安部队开展之任务、活动及其他工作;
b.确保公众咨询接待处之运作并确保与澳门保安部队各部队及机构以及公共行政当局之其他接待部门之联系,以便具备在该方面有效之回应能力;
c.接收对澳门保安部队接待公众之方式之书面批评及建议,以及根据命令,将之送交有关部门并作出有关处理;
d.定期编制公众接待及咨询活动之报告书;
e.确保澳门保安部队事务司图书馆之运作及更新。
三、文件、资讯暨公共关系室设有一个具备数个公众咨询接待处之科。
第二十一条 (办事处)
一、办事处(葡文缩写为SCT)负责澳门保安部队事务司之一般文书处理及档案之工作,以及负责该司之微缩、设施之安全及维修。
二、办事处之权限尤其为:
a.登记及监督澳门保安部队事务司之保密文件,并保障其安全,但属通讯处特定范围之文件除外;
b.公布澳门保安部队事务司《职务命令》并向澳门保安部队各部队及机构传发之;如其他机构为公布事宜之直接关系人,则亦向其传发之;
c.搜集与澳门保安部队有关之一切法规及其他命令,并保持有关资料库之最新资料;
d.确保澳门保安部队事务司之翻译工作;
e.确保澳门保安部队事务司人员之动向,以及确保到澳门保安部队事务司报到之其他人员,并发出有关报到凭单;
f.处理关于澳门保安部队事务司在职人员之司法及纪律之事宜;
g.在与澳门保安部队各部队及机构协调之情况下,根据现行法例及指示,负责澳门保安部队微缩文件之活动。
三、办事处设有两个科。
第三章 人员
第二十二条 (人员编制)
澳门保安部队事务司之军事化人员表及文职人员编制载于本法规附件B,而该附件为本法规之组成部分。
第二十三条 (人员制度)
一、本法规附件B所指之军事化人员属澳门保安部队各厅、队之人员编制,且根据《澳门保安部队军事化人员通则》之规定以定期委任之方式在澳门保安部队事务司提供服务。
二、澳门保安部队事务司文职人员之制度为公共行政工作人员之一般法所规定者。
三、澳门保安部队事务司文职人员之职位数目等同于澳门保安部队各部队所必需之职位数目,且根据总督以批示核准之数额,以分配任用之方式进行分配。
第二十四条 (当局权限)
在澳门保安部队事务司任职之各部队之军事化人员保留其执法人员之身份。
第四章 过渡及最后规定
第二十五条 (法律上提及)
一、将单纯程序上之行政权限赋予已消灭之澳门保安部队司令部,或为限制自然人或法人权利之行使而须预先向已消灭之澳门保安部队司令部作出有期限或无期限知会等法律提及,视作提及澳门保安部队事务司,但不得超越该司之权限范围。
二、法律上提及澳门保安部队司令部或参谋部应视作提及澳门保安部队事务司。
第二十六条 (人员之转入)
一、属澳门保安部队事务司编制或澳门保安部队高等学校编制(葡文缩写为ESFSM)之文职人员,按原职程序、职级及职阶转入本法规附件B所定编制之职位。
二、上款所指之编制人员之转入,应根据总督以批示核准之人名名单为之,而转入除在审计法院注录并公布于《政府公报》外,无须办理其他手续。
三、于澳门保安部队事务司及澳门保安部队高等学校提供服务之编制外文职人员透过在有关合同文书作有关之附注转入澳门保安部队事务司,并保持其原有职务上之法律状况。
四、为一切法律效力,根据本法规之规定转入之人员,其以往提供之服务时间,视为在转入后职位之服务时间。
第二十七条 (财政负担)
执行本法规所产生之财政负担,由分配予澳门保安部队事务司之拨款承担。
第二十八条 (纪念日)
一月二十八日,即设立澳门保安部队事务司之第6/91/M号法令公布之日,为该司之纪念日。
第二十九条 (徽号)
澳门保安部队事务司之徽号以训令核准。
第三十条 (废止)
废止下列法规:
a.六月十二日第20/76/M号法令;
b.二月十二日第22/77/M号训令;
c.三月七日第37/81/M号训令;
d.十二月二十八日第232/82/M号训令;
e.四月十三日第40/87/M号训令;
f.二月二十六日第72/90/M号训令;
g.一月二十八日第6/91/M号法令。
第三十一条 (开始生效)
本法规于公布翌日开始生效,并于一九九五年一月一日产生效力。


